Tyrystorowy prostownik jednofazowy (rys. 3.7) daje możliwość regulacji średniej wartości napięcia wyprostowanego Udα0 przez zmianę kąta wysterowania α. Maksymalną wartość napięcia wyprostowanego Udα0 otrzymuje się, w momencie gdy α = 0; prostownik sterowany działa wówczas tak samo, jak niesterowany. Średnią wartość napięcia wyjściowego prostownika Udα0, przy kącie wysterowania α, definiuje wzór:
Ud = √2 ∙ Uυ0/2π ∙ (1 + cosα)
Przebieg prądu wyjściowego id prostownika uzależniona jest od indukcyjności obwodu wejściowego LT i od dławika wygładzającego LW. Na ilustracji 3.7e przedstawiono przebieg prądu wyprostowanego, gdy LW = 0 i LT = 0; Na ilustracji 3.7d zauważyć można, iż wykorzystanie dławika LW powoduje pomniejszenie wartości szczytowej przedłużenie czasu przepływu prądu w obwodzie wyjściowym prostownika.

Rys. 3.7. Tyrystorowy prostownik jednofazowy jednoimpulsowy: a) schemat układu, b)przebieg napięcia zasilającego, c) przebieg prądu bramki, d) przebieg prądu wyprostowanego id w obwodzie z indukcyjnościami LW i LT, e) przebieg prądu wyprostowanego, gdy LW = 0 i LT = 0
W praktyce bardzo często wykorzystywanym prostownikiem sterowanym jest tyrystorowy prostownik trójfazowy, mostkowy (rys. 3.8). Różni się od mostka diodowego tym, iż przejście tyrystorów w stan przewodzenia powinno być poprzedzone doprowadzeniem impulsów prądowych iG, sterujących równocześnie dwa tyrystory: jeden z grupy katodowej (np. Ty1) oraz jeden z grupy anodowej (np. Ty5). Na przykład tyrystor Ty1 będzie włączony przy kącie fazowym definiujemy literą A na osi ωt (rys. 3.8b) wraz z tyrystorem Ty6 przy kącie fazowym definiowanym B. Linią kreskową na ilustracji 3.8a zaznaczono drogi przepływu prądu wyprostowanego id po włączeniu tyrystora Ty1.

Rys. 3.8. Mostkowy prostownik tyrystorowy: a) schemat funkcjonalny, b) przebiegi napięć fazowych oraz napięcia wyprostowanego (część zakreskowana) dla dwóch kątów wysterowania α = 30ºel oraz α = 75ºel, c) prze- biegi prądów bramkowych w tyrystorach Ty1 - Ty6. Kąty wysterowania tyrystorów grupy anodowej oraz katodowej są takie same.
Przepływ prądu wyprostowanego id potrzebuje konkretnej kolejności załączania poszczególnych tyrystorów Ty1 - Ty6. By to zapewnić, do bramki wszystkich tranzystorów trzeba doprowadzić dwa impulsy w okresie 2π przesunięte o kąt 60°el. Na przebiegach wejściowych napięć fazowych przekształtnika (rys. 3.8b) zilustrowano kąty wysterowania poszczególnych tyrystorów grupy anodowej (Ty4,Ty5 oraz Ty6) oraz katodowej (Ty1, Ty2 i Ty3), przy czym pierwsza część wykresu tyczy się przebiegów dla kąta wysterowania α = 30ºel, druga natomiast przy kącie α = 75ºel. Zakreskowana powierzchnia odwzorowuje (przy pominięciu zjawiska komutacji) wartość średnią napięcia wyprostowanego Udα dla konkretnej wartości kąta wysterowania α. Na ilustracji 3.9a pokazano komutację prądu pomiędzy tyrystorami zaczynającymi a kończącymi pracę.
Sam proces komutacji w prostownikach przebiega tak samo, jak w prostownikach diodowych, w tym że kąt komutacji μ (w °el) jest uzależniony jest od kąta wysterowania α. W czasie komutacji na wyjściu dławików sieciowych różnica napięcia pomiędzy anodami tyrystorów w obwodzie komutacji jest bliska zeru (gdy pominiemy napięcie przewodzenia tyrystorów 2UT).

Rys. 3.9. Przebiegi jakie występują w tyrystorowym prostowniku trójfazowym: a) napięć fazowych oraz napięcia wyprostowanego (część zakreskowana) z uwzględnieniem komutacji, b) prądu płynącego przez tyrystor Ty1, c), d), e) prądów przewodowych, f) prądu wyprostowanego. (Układ połączeń prostownika według rys 3.8a)

Rys. 3.10. Przebiegi występujące w mostku trójfazowym działającym przy kącie wysterowania α = 75°el, a) napięć fazowych, b) napięcia wyprostowanego (część zakreskowana na rys 3.10a) dla LW = 0, c) prądu płynącego przez tyrystor Ty1, d) prądu linii zasilającej (w pierwszej fazie), e) prądu wyprostowanego, w momencie gdy indukcyjność w obwodzie wyjściowym LW = 0, f) prądu wyprostowanego, gdy LW ≠ 0.

Rys. 3.11. Wyznaczanie przesunięcia fazowego dla prostownika trójfazowego mostkowego: a) przebiegi napięć fazowych zasilających, b) przebieg prądu w linii, gdy LW = ∞, c) przebieg prądu oraz napięcia fazowego dla pierwszej harmonicznej. (Kąt przesunięcia fazowego prądu względem napięcia φ1α uzależniony jest od kąta wysterowania α = φα oraz kąta komutacji μ, który odpowiada współczynnikowi odkształcenia φ1)
Układy przekształtników nawrotnych. Trójfazowe tyrystorowe przekształtniki mostkowe działają w I kwadracie wykresu Ud = f(Id), przy sterowaniu w zakresie 30-90°el. Przy większych wartościach kąta wysterowania, w zakresie 90-150°el, przekształtnik "przechodzi" do IV kwadratu charakterystyki (rys. 3.1 oraz 3.15). W kwadracie tym wartość średnia napięcia przekształtnika jest ujemna. Znaczy to, iż energia jest odbierana ze źródła prądu stałego a następnie skierowana do sieci.

Rys. 3.13. Zmienność napięcia wyjściowego przekształtnika sterowanego fazowo w funkcji kąta wysterowania α.

Rys. 3.1. Kwadraty charakterystyki.

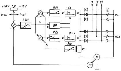
Rys. 3.14. Nawrotny układ napędowy prądu stałego
PSI, PSII - sekcje przekształtnika, M - silnik, PT - prądnica tachometryczna, R (ω) - regulator prędkości, R (II), R (III) - regulatory prądu sekcji PSI oraz PSII, SI, SII - sterowniki dla obu sekcji, BP - blokada wprowadzająca sekcje PSI oraz PSII do pracy, Sep - układ z galwaniczną separacją obwodów do przetwarzania sygnału prądu o napięciu 0 - 60 mV na sygnał o napięciu do 10 V, Rb - bocznik.

Rys. 3.15. Charakterystyki statyczne przekształtnika nawrotnego (w czterech kwadratach).

Rys. 3.16. Szeregowe układy połączeń przekształtników ogromnej mocy:
a) dwa mostki tyrystorowe, b) dwa mostki: diodowy oraz tyrystorowy.
UdII - napięcie stałe o zmiennej wart.


Rys. 3.17. Przebiegi napięć w przekształtniku skonstruowanych z dwóch mostków tyrystorowych złączonych szeregowo: a) na wyjściu sekcji I, b) na wyjściu sekcji II, c) na wyjściu przekształtnika.
